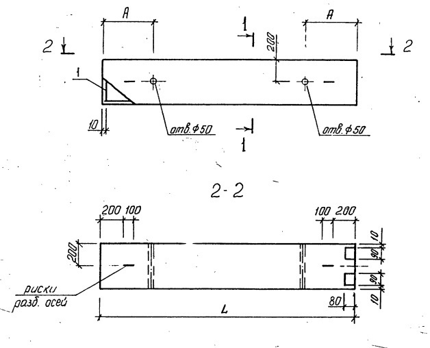
Колонна железобетонная 2КНО 60-72-3-28-00 изготовлена из высококачественного железобетона, что обеспечивает ей прочность и долговечность. Колонна предназначена для использования в строительстве зданий и сооружений, где требуется надежная опора и поддержка.
Колонна железобетонная 2КНО 60-72-3-28-00 идеально подходит для установки в качестве опорных элементов в строительстве мостов, тоннелей, а также промышленных и жилых зданий. Ее прочная конструкция и устойчивость к воздействию внешних факторов делают ее незаменимым элементом в создании надежных и долговечных сооружений. Колонна отличается высоким качеством и соответствует всем необходимым стандартам и требованиям безопасности.









